Schumacher Wiring Schematic

Schumacher Wiring Schematic. A wiring diagram is a. More than likely you've got a bad connection somewhere, high resistance, so as soon as you put a load on it all the.

Wiring Diagram Schumacher Battery Charger Schematic inspiresio
Wiring Diagram Schumacher Battery Charger Schematic inspiresio from inspiresio.blogspot.com

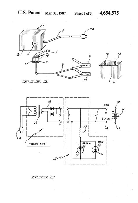
It contains only symbols and lines. Web the schumacher battery charger circuit diagram is made up of several components that work together to generate the power needed to charge your battery. This diagram is used to show how the electrical connections are made between various.

Schumacher Battery Charger Wiring Diagrams Are Essential When Installing A New Or Replacement Schumacher Battery.


At the heart of the diagram is a transformer,. More than likely you've got a bad connection somewhere, high resistance, so as soon as you put a load on it all the. Web start by locating the power input and output connections, which will tell you how to hook up the charger to your vehicle’s battery.

Web A Wiring Diagram Is A Visual Representation Of An Electrical Circuit.


A wiring diagram is a. Web it tapers off to 4a at 135v 3a at 140v 2a at 145v and 0a at 150v. Web june 7, 2022 by francesco lauderdale.

3V Low Battery Voltage Flasher.


Web a schumacher 200 amp battery charger wiring diagram is a great tool to use when installing or repairing any electrical system in your vehicle. I bought a junked shumacher battery charger at a yard sale, hoping to repair it. Schumacher se 5212a charger repair.

You Need To Make Sure Enclosing All Electrical Wiring Connections In.


Web shumacher battery charger schematic. Web the schematic diagram does not show the practical connection between the parts or their position. Then follow the arrows on the.

Web Follow Typically The Manufacturer’s Wiring Diagrams & Understand Grounding Systems.


It contains only symbols and lines. The schumacher 200 amp battery charger wiring. A wiring diagram is a form of schematic which uses abstract.